產品特點
1.結構緊湊,性能穩定,
2.安裝簡易,使用維護方便,
3.破碎產品粒度均勻,過粉過碎小,產品粒度細(可以破碎至3mm以下)。
一、概述
對輥式破碎機簡稱對輥破或對輥破碎機,是比較老式的破碎設備,制造工藝更加成熟化。該設備結構簡單,過粉碎現象少,輥面上的齒形、尺寸、排列可隨物料性質而改變,可對中硬和軟礦石進行中、細破碎,如硫酸廠中通常用對輥式破碎機對硫鐵礦石進行一次破碎,使直徑達到20~30mm,再進入雙輥式破碎機進行二次破碎,使礦石直徑達到5mm以下,達到沸騰爐的要求。
對輥破碎機可供選礦、化工、水泥、耐火材料、磨料、建筑材料等工業部門中細碎各種高、中等硬度的礦石和巖石之用,尤其在建筑材料工業中生產瓜米石和綠豆砂等產品,有較一般破碎機械更好的效果。
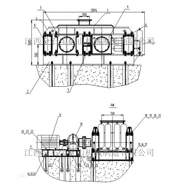
二、結構
對輥式破碎機主要由輥輪、輥輪支撐軸承、壓緊和調節裝置以及驅動裝置等部分組成。
1、出料調節裝置:兩輥輪之間裝有楔形或墊片調節裝置。
a、楔形裝置的頂端裝有調整螺栓,當調整螺栓將楔塊向上拉起時,楔塊將活動輥輪頂離固定輪,即兩輥輪間隙變大,出料粒度變大,當楔塊向下時,活動輥輪在壓緊彈簧的作用下兩輪間隙變小,出料粒度變小。
b、墊片裝置是通過增減墊片的數量或厚薄來調節出料粒度大小的,當增加墊片時兩輥輪間隙變大,當減少墊片時兩輥輪間隙變小,出料粒度變小。
2、驅動機構:是由兩個電動機,通過三角皮帶傳動到槽輪上拖動輥輪,按照相對方向運動旋轉。在破碎物料時,物料從進料口通過輥輪,經碾壓而破碎,破碎后的成品從底架下面排出。
3、傳動部分:為了安全根據實際情況自行安裝安全罩。
三、工作原理
將破碎物料經給料口落入兩輥子之間,進行擠壓破碎,成品物料自然落下。遇有過硬或不可破碎物時,其輥子可憑液壓缸或彈簧的作用自動退讓,使輥子間隙增大,過硬或不可破碎物落下,從而保護機器不受損壞。相向轉動的兩輥子有一定的間隙,改變間隙,即可控制產品排料粒度。
四、技術參數
|
規格型號 |
給礦粒度MM |
出料粒度MM |
產量T/H |
電機功率KW |
機重KG |
|
2PG-400*250 |
≤25 |
2-8 |
5-10 |
11 |
1100 |
|
2PG-610*400 |
≤40 |
1-20 |
13-40 |
30 |
3500 |
|
2PG-750*500 |
≤40 |
2-20 |
20-55 |
37 |
12250 |
|
2PG-900*500 |
≤40 |
3-40 |
60-125 |
44 |
14000 |
贛公網安備36073502000187

